六欣 开云电竞首存活动集研发/生产/销售服务于一体

全国服务热线400-892-2003189-2584-2597

csgo开云电竞

热搜关键词: 分度卡盘 ebay开云 主轴夹座 app云开

节流阀主要作用,(节流阀的工作原理)

来源:六欣开云电竞首存活动 | 发布日期:2022-07-04

一、节流阀主要作用有以下组成:

节流阀的关键作用是用来调节流量以及作业压力的。节流阀压力差一定时,张口尺寸危害着流量的转变。节流阀就像生活中常见的自来水龙头流动的原理一样。你开很多 流出来的水就多。你调小了流出来的水就少。

1)、节流降压。当常温下髙压的制冷剂饱和状态液态穿过节流阀,变为超低温底压的制冷剂液态并造成少量闪发汽体。从而达到向外部吸热反应的目地。

2)、流量控制:节流阀根据温度检测灯泡,根据蒸发器出入口制冷剂氢压的变化,调节阀开度,调整进入蒸发器的制冷剂流量,使其流量与蒸发器的消耗热量一致。当蒸发器耗热量提升时阀开启度也扩大,制冷剂流量随着提升,相反,制冷剂流量降低。

3)、操纵氢压:节流组织具备操纵蒸发器出入口制冷剂氢压的作用,保持了蒸发器总传热面积的灵活使用,避免了制冷压缩机因吸入带液体损坏而造成的安全事故。

4)、挥发性液位指示器的操作:带液位控制的节气门机构具有操作蒸发器液位指示器的功能,既维持蒸发器热传导总面积的灵活运用,又避免吸气带液减少吸气氢压。

二、节流阀的工作原理

原理节流的原理是制冷机蒸汽参数穿过闸阀时流动性横截面忽然收拢,液体流动速度加速,工作压力降低,工作压力降低的多少在于流动性横截面收拢的占比。

节流阀是通过更改节流横截面或节流长短以操控液体流量的闸阀。节气门和节气门连接在一起,可以形成单向节气门。节流阀和单向节流阀是变量泵液压传动系统中的简单流量和压力控制阀,节流阀和调速阀相互配合,可构成三种节流调速系统,即进油道节流调速系统、回油道节流调速系统和旁通节流调速系统。节气门无负流量反馈,不能补偿负载变化引起的转速不稳定,一般情况下,它只用于负载变化不大或速度可靠性不高的地方。

节流阀构造电路原理图

图14—11图示为节流阀框架图。气旋径P口键入,根据节流口的节流功效后复A口导出。节流孔内的货物流总面积是阀门中心偏差的函数,它与阀门中心节流部分的外观有关。针形阀、三角形槽销、倒角气缸的常用型式与液压机节流阀芯部基本相同,此处不再重复。图例就是圆柱体切角阀心的节流阀。

节流阀主要作用

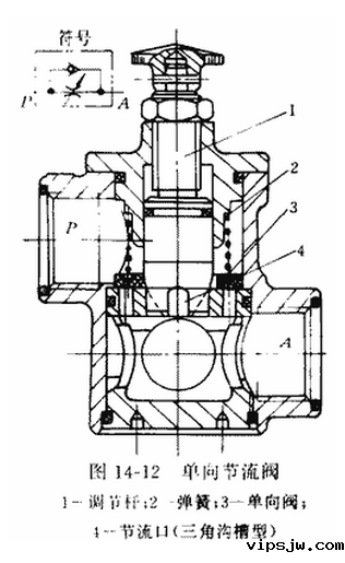
节流阀单边节流阀构造电路原理图

图14—12所显示为单边节流阀框架图,这是节流阀和节流阀并接成的英语的组成调压阀。当旋风分离器从端口P流向端口A时。节流阀节流;反向流量,即当流量从A到P时,节气门打开而不节流。

节流阀的工作原理

东莞六欣精工专注卡盘行业16年,是一家集研发、生产、销售于一体化企业,同时是台湾千岛品牌授权大陆区代理商,常备货有各个规格液压卡盘,气动卡盘,手动卡盘,回转油缸,软爪硬爪等产品,欢迎新老客户垂询。

【本文标签】 节流阀 节流阀主要作用 节流阀的工作原理

【责任编辑】六欣开云电竞首存活动

最新资讯

Baidu
ios开云电竞